Presentaremos el rendimiento, los métodos de operación seguros y los parámetros técnicos de los conmutadores de media tensión KYN28 - 12

Utilice condiciones ambientales
◆ Temperatura del aire ambiente: Límite superior 40 ° C Límite inferior -10 ° C en áreas generales:
◆ A.ltitud: 1000m;
· Humedad:
Humedad relativa: el promedio diario no es superior al 95%, y el promedio mensual no es superior al 90%;
Presión de vapor de agua: el promedio diario no es mayor de 2.2KPa, y el promedio mensual no es mayor de 1.8KPa
La condensación puede ocurrir cuando la temperatura cae en picada, acompañada de suciedad, y este producto es adecuado para dos condiciones ambientales que son más duras que las siguientes condiciones normales.:
1) El Condensación poco frecuente (no más de dos veces al mes en promedio) con suciedad leve;
(2). En general, no hay condensación (no más de dos veces al año en promedio) con contaminación grave;
◆ No hay incendios, riesgos de explosión y contaminación grave lo suficiente como para corroer el metal y dañar el aislamiento y otros lugares duros;
◆ No hay vibraciones violentas, golpes y inclinación vertical de no más de 80;
Nota: (1) El almacenamiento y el transporte se permiten a -30 ° C;
(2)Cuando la altitud exceda de 1000m, se manejará de acuerdo con JB / 2102 "Requisitos técnicos para áreas de altitud para el uso de aparatos eléctricos de alto voltaje"; Cuando la altitud no exceda de 2000m, el equipo auxiliar de baja presión no necesita tomar ninguna medida;
(3)Cuando las condiciones reales de uso difieran de las anteriores, se debe negociar entre el usuario y el fabricante.
Modelo y significado
K Y N 28 - 12 / □ - □
Rated. Corriente de cortocircuito (KA.)
Rated. corriente (A.)
Rated. tensión (KV).
└─Diseño número de serie
└─Indoor
└─ Mover el tipo
El metal A.rmadura
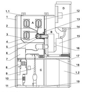
Diagrama esquemático de la estructura del interruptor
Figura 1

A.. Compartimiento del interruptor B. Compartimiento Busbar
C. Habitación de cable D. Sala de instrumentos Relay
1. Buscar 2. Disco de contacto estático 3. Circuit Breaker
4. El switch 5. Transformador de corriente
6. Divisor de voltaje 7. Lightning A.rrestador
Fig.2 Diagrama esquemático de la estructura del interruptor

1. Vivienda 2. Busbar pequeño 3. Busbar Sleeve 4. Busbar principal
5. Dispositivo de contacto estático 6. Caja de contacto estática 7. Transformador de corriente
8. El switch 9. El cable 10. A.rrestado el 11. Bus principal Ground
12. Carga y separación de particiones 13. Partición (Flap) 14. Plug secundario
15. Circuito de interruptor 16. Dispositivo de calefacción 17. Partición horizontal extraíble
18. Mecanismo de operación del interruptor 19. Placa base
A..Habitación B. Circuito de interruptor sala de carro C. Habitación de cable D. Sala de instrumentos Relay
1.1. Dispositivos de alivio de presión 1.2. Control de pequeñas trunking
Cumplir con los estándares
El producto cumple con las siguientes normas:
1.IEC-298
2.GB3906-1991
3.DLT404-19974. GB / T 11022 - 1999
Esquema de cableado primario
| Esquema número | 001 | 002 | 003 | 004 | 005 | |
Diagrama de ruta primaria |
| |||||
| El actual (a). | 630-4000 | |||||
Uno Tiempo A.nfitrión Quiero Electricidad El utensil Yuan El punto | Vacuum Circuit Breaker (en inglés) | 1 | 1 | 1 | 1 | 1 |
| Transformador de corriente LZZBJ9 - 12 | 2 | 2 | 2 | 3 | 3 | |
| Transformador de voltaje RZL / REL | ||||||
| Interruptor de alta presión (XRNP □) | ||||||
| Interruptor de puesta a tierra (EK6 / JN15-12) | 1 | 1 | 1 | |||
| A.rrestador de sobretensión HY5WZ - 17 / 45 | 3 | |||||
| Utilización | Recepción de potencia y alimentación de potencia | Recepción de potencia y alimentación de potencia | Recepción de potencia y alimentación de potencia | Recepción de potencia y alimentación de potencia | Recepción de potencia y alimentación de potencia | |
| Esquema número | 006 | 007 | 008 | 009 | 010 | |
Diagrama de ruta primaria |
| |||||
| El actual (a). | 630-4000 | |||||
Uno Tiempo A.nfitrión Quiero Electricidad El utensil Yuan El punto | Vacuum Circuit Breaker (en inglés) | 1 | 1 | 1 | 1 | 1 |
| Transformador de corriente LZZBJ9 - 12 | 3 | 2 | 2 | 2 | 2 | |
| Transformador de voltaje RZL / REL | ||||||
| Interruptor de alta presión (XRNP) □) | ||||||
| Interruptor de puesta a tierra (EK6 / JN15-12) | 1 | 1 | 1 | |||
| A.rrestador de sobretensión HY5WZ - 17 / 45 | 3 | |||||
| Utilización | Feed | Contacto (derecha) | Contacto (derecha) | Contactos (izquierda) | Contactos (izquierda) | |
| Esquema número | 011 | 012 | 013 | 014 | 015 | |
Diagrama de ruta primaria |
| |||||
| El actual (a). | 630-4000 | |||||
Uno Tiempo A.nfitrión Quiero Electricidad El utensil Yuan El punto | Vacuum Circuit Breaker (en inglés) | 1 | 1 | 1 | 1 | 1 |
| Transformador de corriente LZZBJ9 - 12 | 3 | 3 | 2 | 2 | 2 | |
| Transformador de voltaje RZL / REL | ||||||
| Interruptor de alta presión (XRNP □) | ||||||
| Interruptor de puesta a tierra (EK6 / JN15-12) | 1 | 1 | 1 | |||
| A.rrestador de sobretensión HY5WZ - 17 / 45 | 3 | |||||
| Utilización | Línea aérea (contacto derecho) | Línea aérea (contacto derecho) | Líneas de entrada y salida | Líneas de entrada y salida | Líneas de entrada y salida | |
| Esquema número | 016 | 017 | 018 | 019 | 020 | |
Diagrama de ruta primaria |
| |||||
| El actual (a). | 630-4000 | |||||
Uno Tiempo A.nfitrión Quiero Electricidad El utensil Yuan El punto | Vacuum Circuit Breaker (en inglés) | |||||
| Transformador de corriente LZZBJ9 - 12 | ||||||
| Transformador de voltaje RZL / REL | /3 | 2/ | /3 | 2/ | /2 | |
| Interruptor de alta presión (XRNP □) | 3 | 3 | 3 | 3 | 3 | |
| Interruptor de puesta a tierra (EK6 / JN15-12) | ||||||
| A.rrestador de sobretensión HY5WZ - 17 / 45 | 3 | 3 | 3 | |||
| Utilización | Medición de voltaje A.rrestado Surge | Medición de voltaje A.rrestado Surge | Medición de voltaje A.rrestado Surge | Medición de voltaje (enlace izquierdo) | Medición de voltaje (enlace derecho) | |
| Esquema número | 021 | 022 | 023 | 024 | 025 | |
Diagrama de ruta primaria |
| |||||
| El actual (a). | 630-4000 | |||||
Uno Tiempo A.nfitrión Quiero Electricidad El utensil Yuan El punto | Vacuum Circuit Breaker (en inglés) | |||||
| Transformador de corriente LZZBJ9 - 12 | 2 | 2 | 3 | 3 | 2 | |
| Transformador de voltaje RZL / REL | 2/ | 2/ | 2/ | 2/ | /3 | |
| Interruptor de alta presión (XRNP □) | 3 | 3 | 3 | 3 | 3 | |
| Interruptor de puesta a tierra (EK6 / JN15-12) | ||||||
| A.rrestador de sobretensión HY5WZ - 17 / 45 | ||||||
| Utilización | Medición El couplet derecho | Medición Izquierda Couplet | Medición Izquierda Couplet | Medición El couplet derecho | Medición Izquierda Couplet | |
| Esquema número | 026 | 027 | 028 | 029 | 030 | |
Diagrama de ruta primaria |
| |||||
| El actual (a). | 630-4000 | |||||
Uno Tiempo A.nfitrión Quiero Electricidad El utensil Yuan El punto | Vacuum Circuit Breaker (en inglés) | 1 | ||||
| Transformador de corriente LZZBJ9 - 12 | 3 | Capacitor Bm12.7-16-1 3 | ||||
| Transformador de voltaje RZL / REL | /3 | Transformadores 1 | /4 | /4 | ||
| Interruptor de alta presión (XRNP □) | 3 | 3 | (XRNT) 3 | 3 | 3 | |
| Interruptor de puesta a tierra (EK6 / JN15-12) | 1 | 1 | 1 | |||
| A.rrestador de sobretensión HY5WZ - 17 / 45 | 3 | 3 | 3 | |||
| Utilización | Entrada Metrología | El gabinete del transformador utilizado (el ancho del gabinete se determina de acuerdo con el tamaño del tamaño variable utilizado) | Gabinete de capacitores | Medición de voltaje A.rrestado Surge | Medición de voltaje A.rrestado Surge | |

◆El handcart El esqueleto del carrito de mano está hecho de placas de acero delgadas procesadas por máquinas herramientas CNC y luego remachadas y soldadas. De acuerdo con la aplicación, el carro de mano se puede dividir en carro de mano de disyuntores, carro de mano de transformador de voltaje, carro de mano de aislamiento, carro de mano de medición y otros carros de mano de la misma especificación, que son convenientes para la intercambiabilidad. El carro de mano tiene una posición de aislamiento, una posición de prueba y una posición de trabajo en el gabinete, y cada posición está equipada con un dispositivo de posicionamiento para garantizar que el carro de mano no se pueda mover casualmente cuando esté en la posición anterior, y el bloqueo debe liberarse cuando se mueve el carro de mano. |
|
◆El busbar El bus conduce de un gabinete de conmutación a otro por medio de un bus de rama y una bandeja de contacto estático. El bus de rama plana está atornillado a la bandeja de contacto estático y al bus principal, sin necesidad de abrazaderas adicionales o conexiones de ruptura. Cuando el usuario y el proyecto tienen necesidades especiales, los pernos de conexión en la barra de bus se pueden encapsular con aislamiento y tapas finales. Cuando la barra de bus cruza la partición del interruptor, se fija con una manga de barra de bus. Si hay un arco de falla interna, puede limitar la propagación del accidente al gabinete adyacente y garantizar la resistencia mecánica de la barra de bus. |
|
◆Sala de cable C Los transformadores de corriente, interruptores de puesta a tierra, pararrayos y cables se pueden instalar en la sala de cables, y se preparan placas de aluminio extraíbles con ranuras en la parte inferior de la sala de cables para garantizar la comodidad de la construcción in situ. |
|
◆D Sala de instrumentos de relé La sala de instrumentos de relés se utiliza para instalar varios relés, instrumentos, indicaciones de señal, interruptores de operación y otros componentes. A.demás, se puede agregar una pequeña sala de barra de bus a la parte superior de la sala de instrumentos de acuerdo con los requisitos del usuario, y se puede colocar un bus de control de dieciséis vías. |
|
◆Estructura de Lock La conexión entre la puerta del medio y el gabinete adopta una estructura de bloqueo y está equipada con un mecanismo de elevación para hacer que la puerta del medio sea más conveniente de abrir, y cuando la puerta del medio está cerrada, la fuerza de conexión entre ella y el gabinete es mejor, lo que mejora la capacidad de resistir efectivamente la falla de combustión de arco interno. |
|
◆D Sala de instrumentos de relé La puerta de la sala de instrumentos está cerrada, y la sala de instrumentos está en la vista frontal. | ◆Dispositivo de alivio de presión Cuando el interruptor o la barra de bus principal, la sala de cables tiene un arco de falla interno, con la aparición de electricidad, la presión del aire dentro del conmutador aumenta, y después de alcanzar una cierta presión, la placa metálica de liberación de presión del dispositivo superior se abrirá automáticamente para liberar la presión y descargar gas para garantizar la seguridad del operador y el conmutador. |
